熱電対


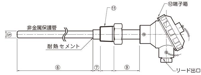
T77 シリーズは高温タイプの熱電対素線と非金属保護管の組み合わせにより、2000℃近くまでの高温計測に対応したネジ付熱電対です。特に再結晶アルミナは酸化・還元雰囲気でも使用でき、悪性ガスの発生や浸透が無いため、貴金属熱電対を汚染しません。

| PT0 | PT1 | ハルシック -R (炭化珪素) |
サイアロン (窒化珪素) |
|
|---|---|---|---|---|
| 常用温度 | 1600℃ | 1500℃ | 1400℃ | 1200℃ |
| 最高温度 | 1800℃ | 1600℃ | 1600℃ | 1600℃ |
| 外径 ― 内径 | 外径 ― 内径 | 外径 ― 内径 | ||
| ① | φ 6 ― φ 4 | φ20 ― φ12 | φ15 ― φ 9 | |
| ② | φ 8 ― φ 5 | φ30 ― φ18 | φ28 ― φ16 | |
| ③ | φ10 ― φ 6 | φ40 ― φ27 | ||
| ④ | φ13 ― φ 9 | |||
| ⑤ | φ15 ― φ12 | |||
| ⑥ | φ17 ― φ13 | |||
| ⑦ | φ20 ― φ16 | |||
| ⑧ | φ25 ― φ20 | |||
※標準品以外の在庫についてはお問合せ下さい。
| 素線種類 | : | B,R,S,K |
|---|---|---|
| 許 容 差 | : | クラス1、2、3 |
| 導 線 数 | : | シングル、ダブル |
| 温 接 点 | : | 非接地型 |
| 絶縁抵抗 | : | 500V DC にて 10M Ω以上 |
お問い合わせ
熱電対・測温抵抗体の製造や
修理・校正に関するご相談など、
お気軽にお問い合わせください。