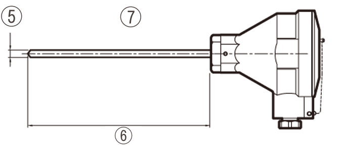
熱電対


産業安全技術協会の防爆構造規定基準に合格した耐圧防爆(Exd Ⅱ BT4) の熱電対で1 種、2 種の危険地域で使用することができます。

| 素線種類 | : | T,J,E,K |
|---|---|---|
| 許 容 差 | : | クラス1、クラス2 |
| 導 線 数 | : | シングル |
| 温 接 点 | : | 非接地型 |
| 絶縁抵抗 | : | (3.0 φ 未満) 100V DC にて 20M Ω以上 (3.0 φ 以上) 500V DC にて 100M Ω以上 |

お問い合わせ
熱電対・測温抵抗体の製造や
修理・校正に関するご相談など、
お気軽にお問い合わせください。